【閥門介紹】

【基本型號】
常見的靜音止回閥基本型號有hc42x、hc42h、hc42t、hc42x-16、hc42x-16c、hc42x-16p、hc42h-16c、hc42t-16等。
【性能參數】
公稱通徑:DN50mm~DN500mm;
公稱壓力:PN1.0MPa、PN1.5MPa、PN2.5MPa;
零件材料:灰鑄鐵、不銹鋼、鑄鋼、球墨鑄鐵等。
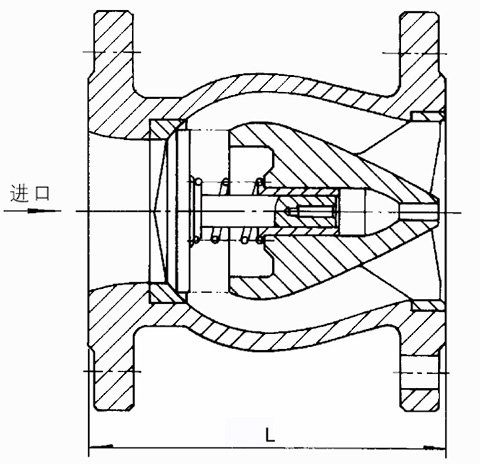
【結構示意圖】

【主要外形尺寸】
| DN | L |
| 50mm | 120mm |
| 65mm | 150mm |
| 80mm | 180mm |
| 100mm | 240mm |
| 125mm | 300mm |
| 150mm | 350mm |
| 200mm | 450mm |
| 250mm | 500mm |
| 300mm | 550mm |
| 350mm | 575mm |
| 400mm | 600mm |
| 450mm | 650mm |
| 500mm | 700mm |
注釋:表格中的L在本頁中的結構示意圖已標注。






<
<
<
<
<
<
<
<
<
<
